Thick Cylinder Under Internal Pressure

This test lets you check analysis results for a thick cylinder under internal pressure, in the context of a static case. You will use 3D meshes.

Reference:

AFNOR technique, SFM Paris, Guide de validation des progiciels de calcul de structures, SSLL 04/89, pp.116-117, 1990.

Specifications

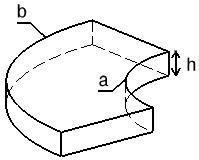
Geometry Specifications

Inner radius:
a = 0.1 m

Outer radius: 
b = 0.2 m

Height:
h = 20 mm

For symmetry reasons, only one quarter of the cylinder is modeled.

Analysis Specifications

Young Modulus (material):
E = 2 x 105 MPa

Poisson's Ratio (material):
ν = 0.3

Mesh Specifications:
Size = 10mm

Restraints (User-defined):
The normal direction is restraint for upper, downer and side faces 

Loads (Pressure):
P = 60  MPa
on the inner face

Results

  • The analytical solution of this problem is:

For both components of the stress tensor within the part cylindrical axis:

For the component of a displacement using the same axis:


 

  • The computed results are presented in the table below:
     

Position in space

Image type

Reference value

Computed value

Linear tetrahedron (TE4)

Parabolic tetrahedron (TE10)

Linear hexahedron (HE8)

Parabolic hexahedron (HE20)

Inner quarter

Stress principal tensor component (with C3 component filter) [MPa]

 -60

-56.8

-60.1

-52.7

-59.8

Stress principal tensor component (with C1 component filter) [MPa]

100

104

100

104

101

Translational displacement vector
[m]

59 x 10-6

57.2 x 10-6

57.2 x 10-6

57.1 x 10-6

57.2 x 10-6

Outer quarter

Stress principal tensor component (with C3 component filter) [MPa]

0

-0.413

0.068

-1.02

0.0432

Stress principal tensor component (with C1 component filter) [MPa]

40

39

40

39.3

39.7

Translational displacement vector
[m]

40 x 10-6

36.2 x 10-6

36.4 x 10-6

36.3 x 10-6

36.4 x 10-6

To Perform the Test:

The Thick_cylinder_TE10.CATAnalysis document presents a complete analysis, computed with a mesh formed of parabolic tetrahedron elements (TE10).

The Thick_cylinder_HE20.CATAnalysis document presents a complete analysis, computed with a mesh formed of parabolic hexahedron elements (HE20).

To compute the case with linear tetrahedron elements (TE4) and linear hexahedron elements (HE8), proceed as follow:

  1. Open one of the CATAnalysis documents.

  2. Enter the Advanced Meshing Tools workbench.

  3. In the specification tree, double-click on the mesh:

    • Volume mesh  for linear tetrahedron elements (TE4),

    • Surface mesh for linear hexahedron elements (HE8).

    The Global Parameters dialog box appears.

  4. Select the Linear element type.

  5. Compute the case in the Generative Structural Analysis workbench.